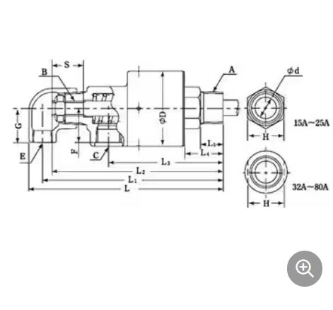
珍珠旋转接头 RX 系列有 RXE 和 RXH 两种类型,它们经久耐用,具有极高的性能,适用于使用条件。
该仪器采用精细陶瓷和精心挑选的碳密封环作为密封材料,在密封面的两个光带内实现高速旋转和低扭矩以及超精密包裹。 此外,还实现了长期的密封稳定性。
它是一种创新的旋转接头,具有良好的耐用性,转子使用不锈钢,外壳使用铜合金作为主体的主要材料。
阀座环(陶瓷)和转子集成在一起。
FUJI富士缓冲器阻尼器FA-2530GB-C 青岛平山郭-158-54210565
RELATED PRODUCTS
